Matronics Email Lists Forum Index Matronics Email Lists
Web Forum Interface to the Matronics Email Lists
 
 Get Email Distribution Too!Get Email Distribution Too!    FAQFAQ   SearchSearch   MemberlistMemberlist   UsergroupsUsergroups   RegisterRegister 
 ProfileProfile   Log in to check your private messagesLog in to check your private messages   Log inLog in 

Electric Rudder Trim

 
Post new topic   Reply to topic    Matronics Email Lists Forum Index -> RV10-List
View previous topic :: View next topic  
Author Message
Albert Gardner



Joined: 10 Jan 2006
Posts: 455
Location: Yuma, AZ

PostPosted: Mon Dec 15, 2008 10:35 am    Post subject: Electric Rudder Trim Reply with quote

I am very pleased with the spring bias rudder trim I installed last summer.
It was easy to fabricate, install, and required no modifications to the
rudder. It has adequate range for high attitude climbs and fast descents.
Beats having to hold rudder pressure for long periods of time. I used the
aileron trim servo kit and installed it just behind the baggage bulkhead
against the bottom skin straddling a stiffener. An additional cable connects
to the rudder horn on one side, wraps around a pulley, to the springs at the
servo and back to the rudder horn on the other side. Pictures available to
any who are interested.
Albert Gardner
Yuma, AZ


- The Matronics RV10-List Email Forum -
 

Use the List Feature Navigator to browse the many List utilities available such as the Email Subscriptions page, Archive Search & Download, 7-Day Browse, Chat, FAQ, Photoshare, and much more:

http://www.matronics.com/Navigator?RV10-List

_________________
RV-9A N872RV
RV-10 N991RV
Back to top
View user's profile Send private message Send e-mail
pitts_pilot(at)bellsouth.
Guest





PostPosted: Mon Dec 15, 2008 12:14 pm    Post subject: Electric Rudder Trim Reply with quote

I'd love to see pictures! I've modified my -10 so that the rudder
cables hook to the pedals inside the tunnel, and will add a loop to tie
the rudder pedals together. The trim is the only thing left!
Linn
Albert Gardner wrote:
Quote:


I am very pleased with the spring bias rudder trim I installed last summer.
It was easy to fabricate, install, and required no modifications to the
rudder. It has adequate range for high attitude climbs and fast descents.
Beats having to hold rudder pressure for long periods of time. I used the
aileron trim servo kit and installed it just behind the baggage bulkhead
against the bottom skin straddling a stiffener. An additional cable connects
to the rudder horn on one side, wraps around a pulley, to the springs at the
servo and back to the rudder horn on the other side. Pictures available to
any who are interested.
Albert Gardner
Yuma, AZ



- The Matronics RV10-List Email Forum -
 

Use the List Feature Navigator to browse the many List utilities available such as the Email Subscriptions page, Archive Search & Download, 7-Day Browse, Chat, FAQ, Photoshare, and much more:

http://www.matronics.com/Navigator?RV10-List
Back to top
rv(at)thelefflers.com
Guest





PostPosted: Mon Dec 15, 2008 12:35 pm    Post subject: Electric Rudder Trim Reply with quote

You're going to get numerous requests, so please post pictures, parts lists, and instructions.

Inquiring minds want to know......

thansk,

bob
Quote:

From: linn Walters <pitts_pilot(at)bellsouth.net>
Date: 2008/12/15 Mon PM 03:13:00 EST
To: rv10-list(at)matronics.com
Subject: Re: Electric Rudder Trim



I'd love to see pictures! I've modified my -10 so that the rudder
cables hook to the pedals inside the tunnel, and will add a loop to tie
the rudder pedals together. The trim is the only thing left!
Linn
Albert Gardner wrote:
>
>
> I am very pleased with the spring bias rudder trim I installed last summer.
> It was easy to fabricate, install, and required no modifications to the
> rudder. It has adequate range for high attitude climbs and fast descents.
> Beats having to hold rudder pressure for long periods of time. I used the
> aileron trim servo kit and installed it just behind the baggage bulkhead
> against the bottom skin straddling a stiffener. An additional cable connects
> to the rudder horn on one side, wraps around a pulley, to the springs at the
> servo and back to the rudder horn on the other side. Pictures available to
> any who are interested.
> Albert Gardner
> Yuma, AZ
>
>
>
>
>
>
>
>
>







- The Matronics RV10-List Email Forum -
 

Use the List Feature Navigator to browse the many List utilities available such as the Email Subscriptions page, Archive Search & Download, 7-Day Browse, Chat, FAQ, Photoshare, and much more:

http://www.matronics.com/Navigator?RV10-List
Back to top
jcumins(at)jcis.net
Guest





PostPosted: Mon Dec 15, 2008 3:05 pm    Post subject: Electric Rudder Trim Reply with quote

Albert

Please send me pics I am very interested in this.

Send them off list if you like.

Thanks

John G. Cumins
President

JC'S Interactive Systems
2499 B1 Martin Rd
Fairfield Ca 94533
707-425-7100
707-425-7576 Fax

Your Total Technology Solution Provider

--


- The Matronics RV10-List Email Forum -
 

Use the List Feature Navigator to browse the many List utilities available such as the Email Subscriptions page, Archive Search & Download, 7-Day Browse, Chat, FAQ, Photoshare, and much more:

http://www.matronics.com/Navigator?RV10-List
Back to top
jcumins(at)jcis.net
Guest





PostPosted: Mon Dec 15, 2008 3:06 pm    Post subject: Electric Rudder Trim Reply with quote

Linn can you send me pics how you connected the rudder pedals in the tunnel
I very much want to do that on my 10.

thanks

John G. Cumins
President

JC'S Interactive Systems
2499 B1 Martin Rd
Fairfield Ca 94533
707-425-7100
707-425-7576 Fax

Your Total Technology Solution Provider

--


- The Matronics RV10-List Email Forum -
 

Use the List Feature Navigator to browse the many List utilities available such as the Email Subscriptions page, Archive Search & Download, 7-Day Browse, Chat, FAQ, Photoshare, and much more:

http://www.matronics.com/Navigator?RV10-List
Back to top
pitts_pilot(at)bellsouth.
Guest





PostPosted: Mon Dec 15, 2008 9:16 pm    Post subject: Electric Rudder Trim Reply with quote

I'll try!!!
Linn

John Cumins wrote:
[quote]

Linn can you send me pics how you connected the rudder pedals in the tunnel
I very much want to do that on my 10.

thanks

John G. Cumins
President

JC'S Interactive Systems
2499 B1 Martin Rd
Fairfield Ca 94533
707-425-7100
707-425-7576 Fax

Your Total Technology Solution Provider

--


- The Matronics RV10-List Email Forum -
 

Use the List Feature Navigator to browse the many List utilities available such as the Email Subscriptions page, Archive Search & Download, 7-Day Browse, Chat, FAQ, Photoshare, and much more:

http://www.matronics.com/Navigator?RV10-List
Back to top
pitts_pilot(at)bellsouth.
Guest





PostPosted: Mon Dec 15, 2008 9:25 pm    Post subject: Electric Rudder Trim Reply with quote

Lemme try again!!! Smile
linn Walters wrote:
Quote:
I'll try!!!
Linn

John Cumins wrote:
>
>
> Linn can you send me pics how you connected the rudder pedals in the
> tunnel
> I very much want to do that on my 10.
>
> thanks
>
> John G. Cumins


- The Matronics RV10-List Email Forum -
 

Use the List Feature Navigator to browse the many List utilities available such as the Email Subscriptions page, Archive Search & Download, 7-Day Browse, Chat, FAQ, Photoshare, and much more:

http://www.matronics.com/Navigator?RV10-List



rv-10_pedal_attach.jpg
 Description:
 Filesize:  169.72 KB
 Viewed:  252 Time(s)

rv-10_pedal_attach.jpg



rv-10_rudder_pedal_mods.jpg
 Description:
 Filesize:  182.35 KB
 Viewed:  279 Time(s)

rv-10_rudder_pedal_mods.jpg


Back to top
Albert Gardner



Joined: 10 Jan 2006
Posts: 455
Location: Yuma, AZ

PostPosted: Tue Dec 16, 2008 12:36 am    Post subject: Electric Rudder Trim Reply with quote

I had a lot of requests for pics so I'll post this to the list.
I used the same servo kit that we use in the wing for aileron trim, servo,
springs, assembly etc. I left a 12" gap in the cables for springs just like
in the aileron setup and that seems to produce adequate trim.
The pulley is a 3" dia for 3/32" cable. I put a keeper over the pulley so
the cable couldn't come off but I think it is redundant.
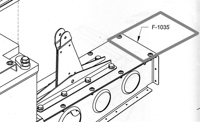
The bracket holding the pulley sits on top of F-1035 and under the elevator
servo mounting bracket see page 10-24 fig 1. I bent a flange on the sides to
make it stiffer.
I installed the pulley bracket and then assembled the MAC servo kit. The
servo and bracket are mounted about midway between the bulkheads and
straddling a stiffener using 4 flat head screws up through the bottom skin.
I used 3/32 7x19 s/s cable with MS20668 Eye Ends. At the rudder horn I used
a longer AN3 bolt and attached the trim cable below the original rudder
cable.
This was actually very easy to install especially if you had thought ahead
and the 5 wire cable was already in place. The dual cables at the rudder
horn aren't too nice but I didn't want to clamp onto the rudder cables
inside the tail cone for some reason. The new cables line up well with the
snap bushings and the original rudder cables. You can easily over-ride the
trim should it be necessary.
Albert Gardner
Yuma, AZ


- The Matronics RV10-List Email Forum -
 

Use the List Feature Navigator to browse the many List utilities available such as the Email Subscriptions page, Archive Search & Download, 7-Day Browse, Chat, FAQ, Photoshare, and much more:

http://www.matronics.com/Navigator?RV10-List



Trim_System_Installed_C_(Small).JPG
 Description:
 Filesize:  25.59 KB
 Viewed:  271 Time(s)

Trim_System_Installed_C_(Small).JPG



Page_10-24_Fig_1_(Small).jpg
 Description:
 Filesize:  41.37 KB
 Viewed:  247 Time(s)

Page_10-24_Fig_1_(Small).jpg



Pulley_Bracket.jpg
 Description:
 Filesize:  36.6 KB
 Viewed:  241 Time(s)

Pulley_Bracket.jpg



Pulley_Bracket_Exploded.jpg
 Description:
 Filesize:  20.17 KB
 Viewed:  252 Time(s)

Pulley_Bracket_Exploded.jpg



Pulley_Bracket_Installed_(Small).JPG
 Description:
 Filesize:  32.84 KB
 Viewed:  260 Time(s)

Pulley_Bracket_Installed_(Small).JPG



Rudder_Horn_(Small).JPG
 Description:
 Filesize:  19.75 KB
 Viewed:  253 Time(s)

Rudder_Horn_(Small).JPG



Trim_Pulley_Bracket_Installed_(Small).JPG
 Description:
 Filesize:  35.17 KB
 Viewed:  268 Time(s)

Trim_Pulley_Bracket_Installed_(Small).JPG



Trim_System_Installed_(Small).JPG
 Description:
 Filesize:  38.96 KB
 Viewed:  255 Time(s)

Trim_System_Installed_(Small).JPG



Trim_System_Installed_B_(Small).JPG
 Description:
 Filesize:  30.55 KB
 Viewed:  267 Time(s)

Trim_System_Installed_B_(Small).JPG



_________________
RV-9A N872RV
RV-10 N991RV
Back to top
View user's profile Send private message Send e-mail
Display posts from previous:   
Post new topic   Reply to topic    Matronics Email Lists Forum Index -> RV10-List All times are GMT - 8 Hours
Page 1 of 1

 
Jump to:  
You cannot post new topics in this forum
You cannot reply to topics in this forum
You cannot edit your posts in this forum
You cannot delete your posts in this forum
You cannot vote in polls in this forum
You cannot attach files in this forum
You can download files in this forum


Powered by phpBB © 2001, 2005 phpBB Group