 |
Matronics Email Lists Web Forum Interface to the Matronics Email Lists
|
| View previous topic :: View next topic |
| Author |
Message |
nuckolls.bob(at)aeroelect Guest
|
Posted: Thu Sep 13, 2012 9:10 am Post subject: Backup battery for fuel pumps? |
|
|
Bob,
I recently purchased your schottky diode with the intention of using
it as follows. I wondered if you might be willing to share with me
whether this is a good idea, and if not, why.
I am building an RV9, and am planning an all-electric fuel system. I
have a carbureted O-320 with no mechanical fuel pump. I have two
Facet cube fuel pumps in the cabin in parallel, just down-stream of
the fuel selector. Each pump has a check valve immediately
downstream of the pump. <snip> Start the engine on the "aux" pump,
and once it's running the "main" pump will come online.
Understand
My question to you is about the electrical system for the pumps. I
am planning a dual alternator, single battery system similar to your
"Z" diagrams, and have already purchased the B&C 60-amp main and
SD-20 backup alternators (12V system). However I recognize one
failure mode that I remain uncovered for: the loss of the negative
terminal or wire from the battery. It is my understanding that
alternators don't behave well without a battery online and can
produce erratic voltage swings which will render the alternator all
but useless. (I could be completely wrong about this.) I recognize
that the likelihood of an Odyssey 680 battery shedding a terminal is
quite low, however I've had an automotive battery that did that exact
thing and as a result I feel a need to account for that possibility.
I think you're worrying too much. There are many
critical features of our airplanes that are
crafted to the robustness and reliability
of prop bolts. For example, wing spars, flight
controls, fuel lines, and yes . . . battery wires.
I also recognize that due to my electrically-dependent fuel system, I
cannot live with wild voltage swings and the loss of my only
battery. I don't however, feel a need to carry the weight of two
full-size Odyssey batteries when a single fuel pump consumes slightly
more than an amp of current. Instead I am considering a smaller,
lighter, and cheaper 7AH AGM battery on a DP3T switch to one pump so
that I could choose between running the pump off the battery bus or
the 7AH battery. I would like to simply run a perhaps 12GA wire from
my main bus to my 7AH battery through a fuse/breaker/fusible-link and
then the schottky diode. Battery ground would go to the forest of
tabs. Peak reverse voltage would never be more than bus voltage, and
I believe that even if the 7AH battery was in a pretty discharged
state the current through the diode wouldn't be damaging (but I could
be wrong about this as well).
There is no good reason to believe that your
fuel pumps will ever be totally deprived of
of useful energy. If it were my airplane, I
would power one pump from the battery bus and
the other from the main bus. Each pump to enjoy
its own breaker/fuse and switch.
I realize that the 7AH battery would be charged at something slightly
less than bus voltage due to diode drop, but the Schottky minimizes
that. I also realize that when turning the master switch on before
starting the engine, some amount of current from the main battery
might flow to the 7AH battery if it is in a discharged state. This
might make it difficult to start the engine on the remaining
energy. But due to the typically short duration that the master is
turned on before the engine is started, I don't expect this to occur
for very long and the bus voltage will drop below the voltage of the
7AH battery as soon as the starter is engaged.
My question is, is this a bad idea? Is there something you see that
I haven't considered? I really wanted to avoid the complexity and
weight of another contactor just for the 7AH battery, but a contactor
would give me more choices on how and when to charge the 7AH battery
and ensure it received as complete a charge as possible. A contactor
would however also increase system complexity for the pilot, which I
want to avoid if possible. I really would like to make my electrical
system operation as simple as, say, a Skyhawk or a Cherokee.
Separate sources and switches within the
as-published Z-12 architecture should
get the job done and without added complexity
and cost of ownership for a second battery.
As the builder -AND- pilot for this project,
you'll be aware of value for fabrication
and maintenance of robust connections to
critical connections. If you have an urge
to inspect things like prop bolts, fuel
and oil levels . . . then due diligence to
installation and maintenance of some critical
wires will not add substantially to the
burden . . . and it benefits MORE than
availability of power to the pumps. Failure
tolerance goes hand-in-hand with good craftsmanship
for avoiding 'bad days in the cockpit'.
Thank you for your thoughts on this. If this sort of consultation
advice would be something you would typically charge an independent
consult fee for, please let me know what your fee might be for
something of this nature. I don't wish to require significantly of
your time without compensation.
Let's post this to the AeroElectric-List and
make it a classroom exercise as opposed to
a fee for service.
Bob . . .
| | - The Matronics AeroElectric-List Email Forum - | | | Use the List Feature Navigator to browse the many List utilities available such as the Email Subscriptions page, Archive Search & Download, 7-Day Browse, Chat, FAQ, Photoshare, and much more:
http://www.matronics.com/Navigator?AeroElectric-List |
|
|
|
| Back to top |
|
 |
nuckolls.bob(at)aeroelect Guest
|
Posted: Thu Sep 13, 2012 2:26 pm Post subject: Backup battery for fuel pumps? |
|
|
At 01:16 PM 9/13/2012, you wrote:
| Quote: | Thank you for your thoughts, Bob. It's not the battery cable or
fittings I was concerned about as much as the failure of the actual
threaded insert which is potted into the battery case. That is what
happened to my auto battery - the entire female threaded insert
departed the battery case with the cable still bolted to it -
spilling acid all over my engine compartment. Different battery
technology, of course.
|
Your RG battery will never spill liquid and it's
unlikely to suffer a terminal shedding event as long
as that terminal has not been damaged by accident
or over-torqued installation of hardware. I don't
think I'd worry about that one. Use soft, 4AWG welding
cable jumpers to the battery terminals and they'll
be the most mechanically pampered of their species
anywhere.
| Quote: | I do agree with you that the likelihood is less than that of a prop,
prop bolt, engine mount bolt, or other rotating engine part failure,
so as long as the electrical supply to the fuel pump is not the
LEAST reliable component in the chain that keeps the fan running I
should not go to extensive lengths to mitigate the risk.
Do you have any experience with the operation of alternators when a
battery is removed from the electrical system? I would love to
conduct an experiment with my SD-20 and an oscilloscope, but
unfortunately a scope is not in the airplane fund.
|
Consider the fact that already running alternators
are unaware of the existence of a battery except
for transient events that might tend to 'stall'
the alternator. Pitot heater, gazillion watt landing
light, PM pump motor on gear, etc. These loads cause
a sudden onset of load that MIGHT drop the bus enough
to encourage support from the battery (below 12.5
volts). But in steady state conditions the battery is
essentially out of the loop.
Many if not most alternators will come on line self
excited assuming bus loads can be reduced sufficiently
to allow residual magnetism to tickle the alternator to
life . . . in fact, the Bonanza and Baron alternators
are intended to come up and run self excited. Hence
the independent alternator and battery switches in these
airplanes. Unlike airplanes with the 'split rocker' independent
operation of alternator is allowed in the piston Beechcraft
models . . . and described in the emergency procedures
for the airplane.
If a battery were to become disconnected in flight,
you're not likely to even know it happened especially
in daytime where the bumps in bus voltage are unlikely
to be observed -AND- assuming you don't have any of
the high inrush loads I cited above.
Most builders wouldn't know the battery was unhooked
until next pre-flight.
This is an easy experiment to conduct when your
airplane is sufficiently assembled to run the engine
and exercise the electrical system. I wouldn't add
any hedges against failure until the risks for
those failures are confirmed to be significant.
Bob . . .
| | - The Matronics AeroElectric-List Email Forum - | | | Use the List Feature Navigator to browse the many List utilities available such as the Email Subscriptions page, Archive Search & Download, 7-Day Browse, Chat, FAQ, Photoshare, and much more:
http://www.matronics.com/Navigator?AeroElectric-List |
|
|
|
| Back to top |
|
 |
user9253
Joined: 28 Mar 2008 Posts: 1948 Location: Riley TWP Michigan
|
Posted: Fri Sep 14, 2012 6:56 am Post subject: Re: Backup battery for fuel pumps? |
|
|
This is not an electrical question, but relates to the previous question about fuel pumps. What are the pro and cons about plumbing fuel pumps in parallel compared to series? My concern is the failure of a check valve when fuel pumps are in parallel. The pilot might not be aware of a check valve failure until its associated pump also fails. Then the good pump will be circulating fuel in a loop through the failed check valve. The fuel pressure to the engine could be reduced. Or is this concern unwarranted?
Joe
| | - The Matronics AeroElectric-List Email Forum - | | | Use the List Feature Navigator to browse the many List utilities available such as the Email Subscriptions page, Archive Search & Download, 7-Day Browse, Chat, FAQ, Photoshare, and much more:
http://www.matronics.com/Navigator?AeroElectric-List |
|
_________________ Joe Gores |
|
| Back to top |
|
 |
rlborger(at)mac.com Guest
|
Posted: Fri Sep 14, 2012 7:20 am Post subject: Backup battery for fuel pumps? |
|
|
Joe,
It all depends on the pump. On my Rotax 914 the standard arrangement is for two pumps in series, each paralleled with a check valve. In case a failed pump will not pass fuel there's a parallel check valve to ensure fuel flow.
[img]cid:A16AC493-1F3E-46DC-8400-B95D029C5247[/img]
Odds of a check valve failure are approaching zero.
You can make up a similar parallel setup with check valves on the output of each pump to ensure there's no back flow through a failed pump.
Blue skies & tailwinds,
Bob Borger
Europa XS Tri, Rotax 914, Airmaster C/S Prop.
Little Toot Sport Biplane, Lycoming Thunderbolt AEIO-320 EXP
3705 Lynchburg Dr.
Corinth, TX 76208-5331
Cel: 817-992-1117
rlborger(at)mac.com (rlborger(at)mac.com)
On Sep 14, 2012, at 9:56 AM, user9253 <fran4sew(at)banyanol.com (fran4sew(at)banyanol.com)> wrote:
--> AeroElectric-List message posted by: "user9253" <fran4sew(at)banyanol.com (fran4sew(at)banyanol.com)>
This is not an electrical question, but relates to the previous question about fuel pumps. What are the pro and cons about plumbing fuel pumps in parallel compared to series? My concern is the failure of a check valve when fuel pumps are in parallel. The pilot might not be aware of a check valve failure until its associated pump also fails. Then the good pump will be circulating fuel in a loop through the failed check valve. The fuel pressure to the engine could be reduced. Or is this concern unwarranted?
Joe
--------
Joe Gores
Read this topic online here:
http://forums.matronics.com/viewtopic.php?p=383060#383060
- The --> &n========================<b - &nbs --> ========================
| | - The Matronics AeroElectric-List Email Forum - | | | Use the List Feature Navigator to browse the many List utilities available such as the Email Subscriptions page, Archive Search & Download, 7-Day Browse, Chat, FAQ, Photoshare, and much more:
http://www.matronics.com/Navigator?AeroElectric-List |
|
| Description: |
|
| Filesize: |
36.71 KB |
| Viewed: |
3824 Time(s) |

|
|
|
| Back to top |
|
 |
mrspudandcompany(at)veriz Guest
|
Posted: Fri Sep 14, 2012 7:44 am Post subject: Backup battery for fuel pumps? |
|
|
This is not an electrical question, but relates to the previous question
about fuel pumps. What are the pro and cons about plumbing fuel pumps in
parallel compared to series? My concern is the failure of a check valve
when fuel pumps are in parallel. The pilot might not be aware of a check
valve failure until its associated pump also fails. Then the good pump will
be circulating fuel in a loop through the failed check valve. The fuel
pressure to the engine could be reduced. Or is this concern unwarranted?
Joe
I would think that you would normally do a fuel pump test as part of
your preflight, i.e. turn each pump on one at a time and check pressure.
This will check the pump op and the check valve. It is highly unlikely that
you will have both a pump and a check valve failure simultaneously.
Roger
| | - The Matronics AeroElectric-List Email Forum - | | | Use the List Feature Navigator to browse the many List utilities available such as the Email Subscriptions page, Archive Search & Download, 7-Day Browse, Chat, FAQ, Photoshare, and much more:
http://www.matronics.com/Navigator?AeroElectric-List |
|
|
|
| Back to top |
|
 |
nuckolls.bob(at)aeroelect Guest
|
Posted: Fri Sep 14, 2012 8:51 am Post subject: Backup battery for fuel pumps? |
|
|
At 10:20 AM 9/14/2012, you wrote:
Joe,
It all depends on the pump. On my Rotax 914 the standard arrangement is for two pumps in series, each paralleled with a check valve. In case a failed pump will not pass fuel there's a parallel check valve to ensure fuel flow.
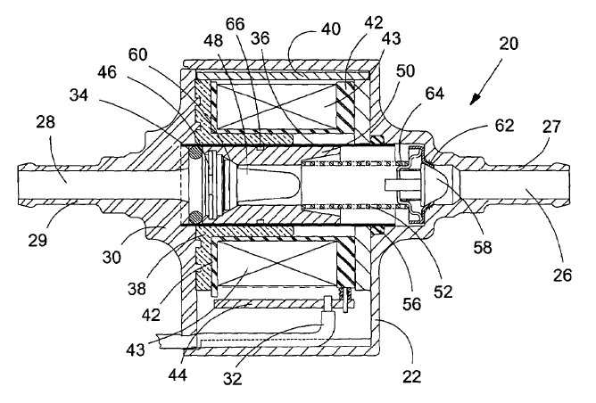
Has anyone explored the cracking pressures for the
two check valves built into Facet/Purolator style
pumps? As Joe suggests, the probability of failure
for a check valve (48 and 5 is very low. It might
stick OPEN due to some obstruction and filters are
supposed to stop that.
[img]cid:.0[/img]P
For a pair of pumps plumbed in series, it seems that either
pump would function with the other powered down unless the
cracking pressure for valves in the inactive pump are too
great and a low-pressure by-pass valved is called for.
These pumps are MOST likely to quit due to lack of power.
Given their all solid state, free-running excitation philosophy,
See: http://www.freepatentsonline.com/7150606.pdf
. . . there is no part of this pump that is highly stressed or
subject to wear. Dual pumps would address a HOST of ancillary
failures like broken wires, bad switch, bad breaker, loss of
buss, etc. Two, totally independent pumps/controls/protection/
power source pretty much covers the bases. This extra plumbing
and check valve thing may be an exercise in unsubstantiated
worrying. Some simple tests would confirm/deny validity
of the concern.
Bob . . .
| | - The Matronics AeroElectric-List Email Forum - | | | Use the List Feature Navigator to browse the many List utilities available such as the Email Subscriptions page, Archive Search & Download, 7-Day Browse, Chat, FAQ, Photoshare, and much more:
http://www.matronics.com/Navigator?AeroElectric-List |
|
| Description: |
|
| Filesize: |
159.66 KB |
| Viewed: |
3822 Time(s) |

|
|
|
| Back to top |
|
 |
|
|
You cannot post new topics in this forum You cannot reply to topics in this forum You cannot edit your posts in this forum You cannot delete your posts in this forum You cannot vote in polls in this forum You cannot attach files in this forum You can download files in this forum
|
Powered by phpBB © 2001, 2005 phpBB Group
|