 |
Matronics Email Lists Web Forum Interface to the Matronics Email Lists
|
| View previous topic :: View next topic |
| Author |
Message |
rparigoris
Joined: 24 Nov 2009 Posts: 811
|
Posted: Sat Sep 04, 2010 6:36 am Post subject: Please explain this connector. |
|
|
Hi Group
Can anyone explain:
**This connector to me?
**Exactly what type of wire the one is with the red translucent covering?
**Are these connectors and wire still commonly used today?
http://www.europaowners.org/forums/gallery2.php?g2_itemId=82207
Perhaps the jet was built in modular sections and uses these connectors to connect one section to the next?
Select Full size 2592 x 1944 for better resolution.
Thx.
Ron Parigoris
| | - The Matronics AeroElectric-List Email Forum - | | | Use the List Feature Navigator to browse the many List utilities available such as the Email Subscriptions page, Archive Search & Download, 7-Day Browse, Chat, FAQ, Photoshare, and much more:
http://www.matronics.com/Navigator?AeroElectric-List |
|
|
|
| Back to top |
|
 |
nuckolls.bob(at)aeroelect Guest
|
Posted: Sat Sep 04, 2010 9:36 am Post subject: Please explain this connector. |
|
|
At 09:36 AM 9/4/2010, you wrote:
| Quote: | --> AeroElectric-List message posted by: "rparigoris" <rparigor(at)suffolk.lib.ny.us>
Hi Group
Can anyone explain:
**This connector to me?
**Exactly what type of wire the one is with the red translucent covering?
**Are these connectors and wire still commonly used today?
http://www.europaowners.org/forums/gallery2.php?g2_itemId=82207
Perhaps the jet was built in modular sections and uses these connectors to connect one section to the next?
Select Full size 2592 x 1944 for better resolution. |
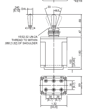
These are one of many examples of devices crafted for
the IWTS (integrated wire termination systems) used
in many military, aerospace and high-end industrial
applications. Here's a toggle switch fitted with
IWTS
[img]cid:.0[/img]
The idea behind it is to make as many of the system's
wire terminations with standard crimp tools as possible.
The terminal blocks you've found are just commoning points
for multiple branches of a circuit. Rather than crimp
on terminals and then attache with screws (ugh!) one
simple crimps on a pin (usually female) and stuffs
the pin into an environmentally sealed cavity to mate
with a captive pin therein.
Some of the earliest patents on this idea go back to
the 70's. Other products using this technology . . .
http://www.ducommun.com/pdf/jayel/10648.pdf
http://stevenengineering.com/tech_support/PDFs/31G-MS.pdf
Bob . . .
| | - The Matronics AeroElectric-List Email Forum - | | | Use the List Feature Navigator to browse the many List utilities available such as the Email Subscriptions page, Archive Search & Download, 7-Day Browse, Chat, FAQ, Photoshare, and much more:
http://www.matronics.com/Navigator?AeroElectric-List |
|
| Description: |
|
| Filesize: |
42.93 KB |
| Viewed: |
4814 Time(s) |

|
|
|
| Back to top |
|
 |
rparigoris
Joined: 24 Nov 2009 Posts: 811
|
Posted: Sat Sep 04, 2010 10:47 am Post subject: Re: Please explain this connector. |
|
|
Hi Bob
Thx. for the explanation on the connector.
Can you shed some light on the wire that has red translucent insulation?
" **Exactly what type of wire the one is with the red translucent covering? "
http://www.europaowners.org/forums/gallery2.php?g2_itemId=82207
Ron Parigoris
| | - The Matronics AeroElectric-List Email Forum - | | | Use the List Feature Navigator to browse the many List utilities available such as the Email Subscriptions page, Archive Search & Download, 7-Day Browse, Chat, FAQ, Photoshare, and much more:
http://www.matronics.com/Navigator?AeroElectric-List |
|
|
|
| Back to top |
|
 |
|
|
You cannot post new topics in this forum You cannot reply to topics in this forum You cannot edit your posts in this forum You cannot delete your posts in this forum You cannot vote in polls in this forum You cannot attach files in this forum You can download files in this forum
|
Powered by phpBB © 2001, 2005 phpBB Group
|