 |
Matronics Email Lists Web Forum Interface to the Matronics Email Lists
|
| View previous topic :: View next topic |
| Author |
Message |
Peter H
Joined: 20 Mar 2007 Posts: 197
|
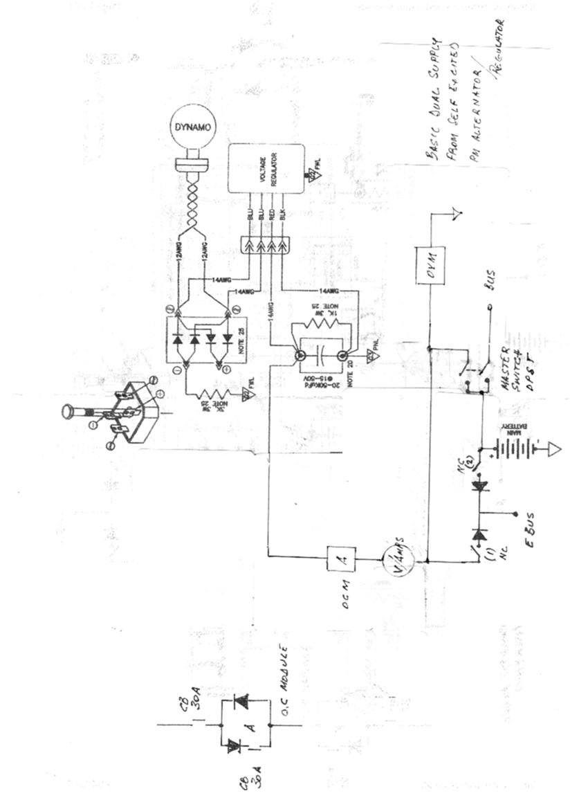
Posted: Mon Apr 30, 2007 3:55 pm Post subject: BASIC DUAL POWER SUPPLY |
|
|
Hi Gilles,
Thanks for the insight on the use of a supplementary battery . Is your alternate battery in the charging loop or switched to charge? Can you explain circuit details how you amended Z16 as I need to treat this as a true option?
At the same time it is hard for me to let go of the idea that the self excited alternator is a ready alternate independent power source for the ebus.
(I hear your caution about the reliability of the Jabiru regulator and may need to source another anyhow as it remains to be seen if the Jab regulator will excite work in Z25)
I have redrawn the circuit in a more simple arrangement which is now close to the original plans issued for my Quickie but enhanced with the self excitation feature of Z25, the OVM and with the added dual supply circuit feature.
The DPST master switch has been working OK for 20 years but will benefit from the OVM which I think is essential for protection of the ebus.
But have I shown it in the right place for this protection?
The original plans depend on the master switch to isolate battery from alternator from bus . There are no alternator or battery disconnect relays.
I see an advantage in using those relays to limit heavy current wiring in the cockpit but I already have the wiring and an amp meter with internal shunt.
Is there another advantage in the use of these relays ?
Thanks for your patience as I am obviously at the bottom of the learning curve.
Regards
Peter
At the same time [img]cid:image001.jpg(at)01C78BD5.D4FC06D0[/img]
| | - The Matronics AeroElectric-List Email Forum - | | | Use the List Feature Navigator to browse the many List utilities available such as the Email Subscriptions page, Archive Search & Download, 7-Day Browse, Chat, FAQ, Photoshare, and much more:
http://www.matronics.com/Navigator?AeroElectric-List |
|
| Description: |
|
| Filesize: |
60.92 KB |
| Viewed: |
355 Time(s) |

|
|
|
| Back to top |
|
 |
nuckollsr(at)cox.net Guest
|
Posted: Tue May 01, 2007 6:10 am Post subject: BASIC DUAL POWER SUPPLY |
|
|
At 09:49 AM 5/1/2007 +1000, you wrote:
| Quote: | Hi Gilles,
Thanks for the insight on the use of a supplementary battery . Is your
alternate battery in the charging loop or switched to charge? Can you
explain circuit details how you amended Z16 as I need to treat this as a
true option?
At the same time it is hard for me to let go of the idea that the self
excited alternator is a ready alternate independent power source for the ebus.
(I hear your caution about the reliability of the Jabiru regulator and may
need to source another anyhow as it remains to be seen if the Jab
regulator will excite work in Z25)
I have redrawn the circuit in a more simple arrangement which is now close
to the original plans issued for my Quickie but enhanced with the self
excitation feature of Z25, the OVM and with the added dual supply circuit
feature.
The DPST master switch has been working OK for 20 years but will benefit
from the OVM which I think is essential for protection of the ebus.
But have I shown it in the right place for this protection?
The original plans depend on the master switch to isolate battery from
alternator from bus . There are no alternator or battery disconnect relays.
I see an advantage in using those relays to limit heavy current wiring in
the cockpit but I already have the wiring and an amp meter with internal shunt.
Is there another advantage in the use of these relays ?
Thanks for your patience as I am obviously at the bottom of the learning
curve.
|
The OVM-14 is a device intended to open a breaker or
other fast acting fault protection. It can easily handle
300 amps . . . for milliseconds. Departures in wiring from
those depicted in the 'Connection should be carefully
considered so as not to violate the device's limits or
design goals.
I'm still mystified as to what's driving your design
study here. Every architecture depicted in the 'Connection
offers a minimum of two and sometimes three or four
power sources for devices you'd like to always have
running. Certainly you're free to re-invent any
wheels you wish in the fabrication of your project but
may I suggest that perhaps we should identify deficiencies
in architectures that have been field tested in perhaps
thousands of airplanes and address those deficiencies
while minimizing the risks for unintended consequences?
The architecture you've shown is guaranteed to generate
smoke as a result of an ov trip.
If we don't exercise due diligence in such an exercise,
I'd be reluctant accept any suggestion that your
final design was the product of any "assistance" you
got from the 'Connection or members of this List.
I got a nastygram from a builder a couple of years
ago who suffered a lot of unexpected and unhappy events
with his system and wrote to hammer me for having
led him astray. After he finally gave up a sketch
of his architecture, it was obvious that whatever
benefit he received from the book was not applied
to his airplane. I sent his drawing back along with
a check for $33 and a note requesting that he refrain
from telling anyone that I had anything to do with
his project for it was obvious that I did not.
I wonder sometimes at Greg Richter's claim: "I've
seen so much truly atrocious work, much of it per Bob's
book". If someone acquired the book and then set
fire to their airplane, it's exceedingly doubtful
that they benefited from ownership of the book. In
such cases, I'm justified in "disowning" them as
customers.
There's a better way to get where you want to
go with this system my friend but so far we've
yet to set the train up on the rails that lead
to success.
Bob . . .
| | - The Matronics AeroElectric-List Email Forum - | | | Use the List Feature Navigator to browse the many List utilities available such as the Email Subscriptions page, Archive Search & Download, 7-Day Browse, Chat, FAQ, Photoshare, and much more:
http://www.matronics.com/Navigator?AeroElectric-List |
|
|
|
| Back to top |
|
 |
Peter H
Joined: 20 Mar 2007 Posts: 197
|
Posted: Tue May 01, 2007 2:33 pm Post subject: BASIC DUAL POWER SUPPLY |
|
|
Bob,
I did not mean to strike a raw nerve reflecting on your work and I apologise
if my ideas or questions are received that way. It is not intended, I just
like to know how and why.
Ken has explained the OVM-trip-relay sensitivity to answer that question
which should help to keep the smoke down to a minimum.
I am working with old architecture and a PM alternator in an attempt to make
a safe dual power source. The rest of what I need to know seems to be
covered in Z16.I am open to any other suggestions.
Thanks
Peter
--
| | - The Matronics AeroElectric-List Email Forum - | | | Use the List Feature Navigator to browse the many List utilities available such as the Email Subscriptions page, Archive Search & Download, 7-Day Browse, Chat, FAQ, Photoshare, and much more:
http://www.matronics.com/Navigator?AeroElectric-List |
|
|
|
| Back to top |
|
 |
nuckollsr(at)cox.net Guest
|
Posted: Wed May 02, 2007 5:15 am Post subject: BASIC DUAL POWER SUPPLY |
|
|
At 08:30 AM 5/2/2007 +1000, you wrote:
| Quote: |
<peterjfharris(at)bigpond.com>
Bob,
I did not mean to strike a raw nerve reflecting on your work and I apologise
if my ideas or questions are received that way. It is not intended, I just
like to know how and why.
|
I didn't intend to come off that way. It was just a hypothetical
musing as to how a lot of what looks and sniffs like stuff in
the 'Connection is not work that we can properly . . . nor would
we claim as members of the society for the filtering and assembly
of simple ideas (SFASI).
You have nothing to apologize for. I was simply hashing over
a point about making changes to a successful recipe without
making a due-diligence evaluation of what "improvement" is being
sought and attempting to deduce all the unintended consequences
for having made changes. My comments were not directed at
anyone, particularly you sir. It was just a manifestation of some
degree of frustration with all the $time$ expended on a somewhat
random stirring of ideas with out benefit of SFASI. I'm seeing a
LOT of that where I work these days and no doubt most of my
frustration comes from that source.
I was chartered to investigate the simple ideas behind
a situation that has cost us somewhere around a half million
dollars off the bottom line due to an ill conceived idea going
to production about 6 years ago. Now that the pressure to "fix"
it has reached the tipping point, there are others whining about
the $100,000 it's going to take to correct the problem and still
others eager to apply their policy-and-procedure driven charters
to levy piles of senseless paper work onto the task. So the
cash drain goes on, folks on the line continue to curse the
engineers and we hat-dance around the paper pile for another
6 months or so. This ladies and gentlemen smells strongly of
stupidity . . . for which there is no cure. My time there may
be more limited than I had originally planned.
Many folks have interpreted my position as being a severe case
of "not invented here" syndrome. They don't understand the time
and thought processes needed to evaluate a variation on one of
the Z-figures . . . especially when only one feature is being
discussed out of context as it were.
This is why I've suggested that we always start with one of
the Z-figures, compare its capabilities with your mission and
hardware and consider incremental changes necessary to cover
some new or overlooked feature. Each of the Z-figures evolved
out of exactly these kinds of discussions over the past 20
years. It may be that we'll discover the need for a new Z-figure
after we discuss your needs in more detail.
| Quote: | Ken has explained the OVM-trip-relay sensitivity to answer that question
which should help to keep the smoke down to a minimum.
I am working with old architecture and a PM alternator in an attempt to make
a safe dual power source. The rest of what I need to know seems to be
covered in Z16.I am open to any other suggestions.
|
I went to my archives and found 38 posts on this thread over
the last 20 days or so. I don't have time to sift through them
all for pertinent points so please indulge my ignorance and
update me on the pertinent points. As I recall . . .
Which "old" architecture? I understand you have a Jabiru engine
with a PM alternator. The 3300? I seem to recall that you were
having trouble with getting the charging system to work. Is that
resolved? There were several thread topics . . . one about
regulator choices and the other about dual power supply. I
note from the Jabiru manual that they're offering a 3-phase
alternator but the wiring diagrams still show the 2-phase vesion.
A schematic of the regulator shows it to be of the same general
philosophy as the Ducati regulator supplied with Rotax engines
and the regulator supplied with the B&C SD-8. These are not
inherently self exciting . . . meaning that the regulator will
not come alive until a battery is connected. However, once in
operation, the system should produce power after the battery
is disconnected. The PM alternators don't "stall" in the same
sense as wound field automotive alternators. In fact, the
risk to a PM system is stalling the regulator, not the
alternator. But given that these regulators come alive at
exceedingly small battery voltages (less than 1 volt) it's
unlikely (but not impossible) to stall your system by severe
transient overload if the battery is not on line. This
raises questions about what kind of accessory in your proposed
system is capable of "severe" overload? I suspect only that
starter would do this so as long as you don't hit the starter
button sans battery, I perceive no concerns for keeping the
alternator up and running once it is started.
What are you system requirements or design goals not met
by let us say, Figure Z-16? Do you believe your proposed
system has features with power reliability requirements
not met by Z-16? Let's discuss it and see first if there
IS a problem to be solved and then go after it.
Bob . . .
| | - The Matronics AeroElectric-List Email Forum - | | | Use the List Feature Navigator to browse the many List utilities available such as the Email Subscriptions page, Archive Search & Download, 7-Day Browse, Chat, FAQ, Photoshare, and much more:
http://www.matronics.com/Navigator?AeroElectric-List |
|
|
|
| Back to top |
|
 |
|
|
You cannot post new topics in this forum You cannot reply to topics in this forum You cannot edit your posts in this forum You cannot delete your posts in this forum You cannot vote in polls in this forum You cannot attach files in this forum You can download files in this forum
|
Powered by phpBB © 2001, 2005 phpBB Group
|