mark.bitterlich(at)navy.m Guest
|
Posted: Thu Feb 15, 2007 7:05 pm Post subject: Revised White Paper on Russian Generator System including im |
|
|
YAK-50 DC Power Generation and Troubleshooting by Mark Bitterlich N50YK;
Revised 15 Feb. 2007
Warning: This is a technical explanation of the power generation,
regulation, and connection to aircraft main's of the typical
Yak-50/52/55 or Sukhoi-26/29/31. It is offered for those that have at
least a general understanding of electronics. In all cases where
voltage from power supplies or from batteries were connected for
testing, circuit breakers were installed for safety. If anyone tries to
follow these notes and duplicate my efforts, beware... if you make
mistakes, or fail to include current limiting devices such as light
bulbs and circuit breakers/fuses, you could easily cause serious damage
to aircraft wiring. Ok.. so I had to cover my six. That said, let's
move on.
I just spent the last few days learning my YAK-50's electrical power
generation system. Thanks for all of those that sent schematics of what
you had on hand. Every person contributed towards solving this puzzle!
THANKS TO EVERYONE! The specifics in some regards focus on the YAK-50,
although all of the Yak's and Sukhoi's use close to the same design with
some slight wiring differences here and there. The important thing is
that in most cases the parts are all identical. Of course this does not
include "Westernized" designs, such as the 52W, 52TW, etc. Most of
these have already had B&C (or other) products installed.
Power generation starts with the generator. This is a 3 KW monster that
is capable of 100 amps output if properly cooled. This same generator
can operate at 30 amps intermittent duty with no cooling air.
There are 3 wires on the generator, + positive, - negative, and what the
Russians refer to as "Shunting Input". This input is actually what
controls the generator output and is normally called "Field Excitation".
This generator has a very well designed voltage regulation system using
a carbon pile voltage regulator that controls field voltage within a +2
/ -2 volt range. Voltage output is also stabilized with a bucking
transformer known in Russian as "The Stabilizing Transformer". If you
want to see examples of systems like this, go back to WW-II designs and
you will see the exact same thing. In other words, this is 60 year old
technology and you need to go back and read about some of the theory
involved, because like a bucking transformer, you rarely see these
components in today's designs, but they were very common before the
discovery of high current voltage regulation transistors.
Basically, most of the system is self starting and self contained
regulating in a closed loop circuit. As soon as the generator starts
spinning, it will put out voltage although at idle it will be much lower
than 28 volts and it will not be connected into the aircraft mains. As
RPM comes up and voltage rises, it will eventually stabilize at the
rated voltage set by the carbon pile regulator. So, if you have any
kind of problem, the first thing you will want to do is to gain access
to the main generator terminals (you have to remove a cover on the
generator) and hook a meter to the PLUS and MINUS connectors with LONG
meter leads so that you can then safely check the voltage when you start
the engine. If your generator is putting out voltage at idle, give it a
quick boost to about 60% or so, and you should see your meter come up to
around 28 voltage (plus or minus a few tenths) and then start
regulating. By "starting to regulate", I mean that the voltage will stop
increasing as you continue to raise engine RPM If you have NO output
voltage, shut the engine off, and then when you are eyeballing the
inside of the generator, slowly move the prop. Does the generator spin?
If so, then that is a good thing. If NOT, then you have sheared a shaft,
replace the generator. If it does rotate, start it back up and run this
test: Remove all three wires from the generator. Now connect a new wire
directly from the "+" terminal of the generator to the small middle
contact which is the FIELD winding. Be careful not to connect this wire
to the "-" terminal by mistake. Connect a voltmeter to the PLUS (+)
and MINUS (-) leads of the generator. Start the engine, but BE VERY
CAREFUL TO KEEP THE ENGINE AT IDLE. The generator is now self-excited.
As you increase the RPM of the engine, you will increase the voltage
output of the generator WITHOUT ANY LIMITS OR SAFEGUARDS! Slowly
increase the engine RPM and just check to see that you can get at least
28 volts output. Do not go any higher than that. Once this test is
accomplished, shut down the engine immediately. This verifies that your
generator itself is good.
If at any time the generator puts out too much voltage, in the realm of
31.5 volts or so (+/- 0.5 volt) then a circuit breaker will pop on the
over/under voltage detection and protection unit. This is a silver box
with two cannon plugs on it, that is in the nose inspection hole left
side top in the 50, and somewhere else in the 52. I think it is in the
forward cockpit underneath the instrument panel on the 52 but don't
quote me. This unit has a rubber covered breaker button that you can
reach in and reset if you have had an over-voltage condition. It is
another thing to check anytime you have a problem, but typically an
over-voltage trip is not common. To check that the voltage regulator and
the Over-Voltage detection system are operating normally, try this test.
Go into the nose equipment compartment on the 50, or the right forward
access panel on the 52. Find the big grey box. Open it and find the
"Combined Device" relay. Find the marking on it that looks like the
English Capital "B". This is the Russian letter "V", but it looks to
Americans like the letter "B". Hook a wire to this terminal so that you
can read it with a voltmeter once you get OUT of that compartment.
Start the engine, if there is 28 volts on this terminal once the engine
starts, you do NOT have any problems with your voltage regulator or
over-voltage detection circuitry.
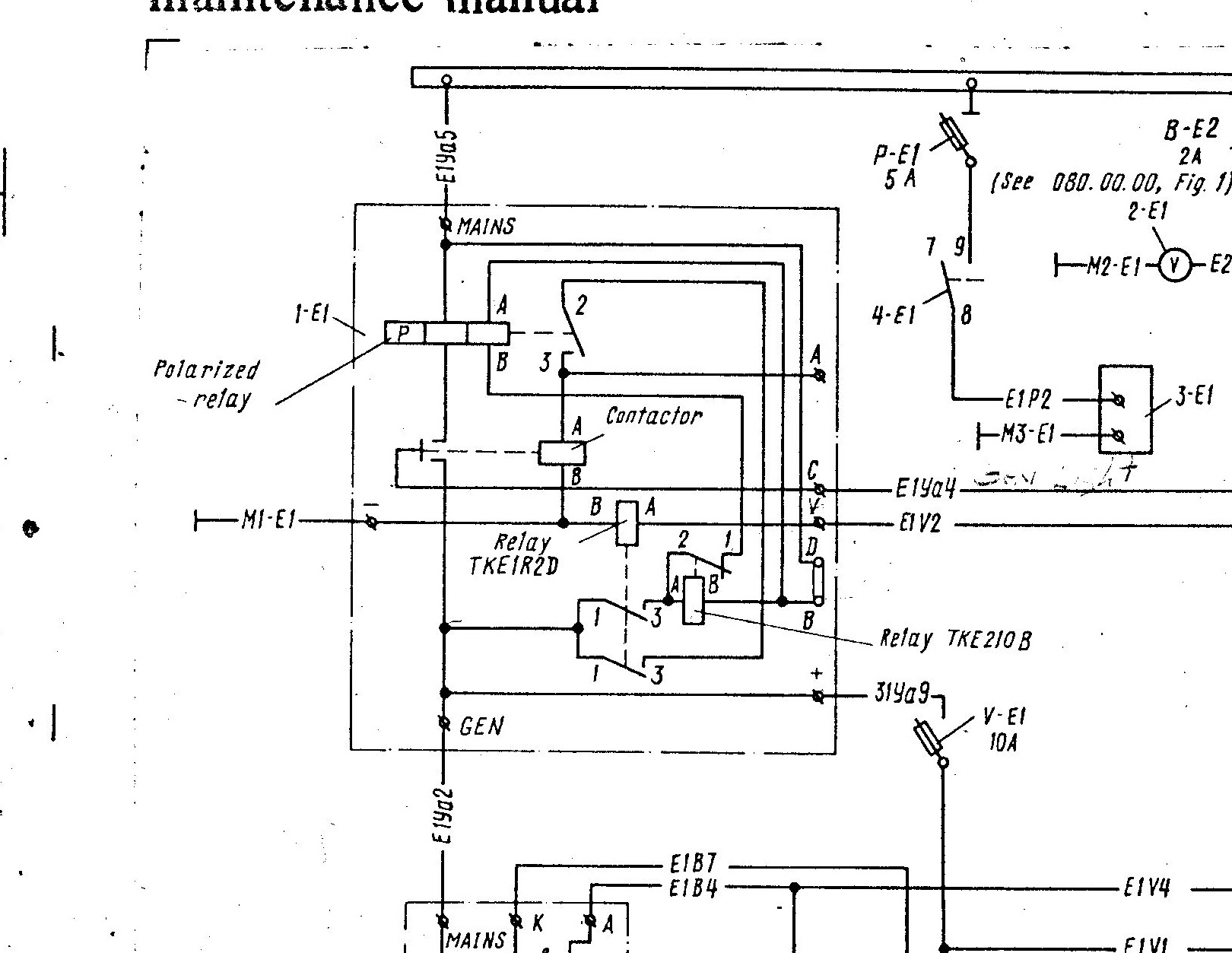
Moving on, the closed loop design has generator output going first to
the stabilization transformer primary winding, then through that
directly to a component called "The Combined Device" also known as the
DMR-200D. This component (the DMR-200D) is located in the gray box
mounted on the firewall, top right side (looking forward) in the 50, and
by the Pilots right foot in the 52. as just described above. In order
to get to the Main Aircraft DC power bus, Generator Power must go
through the MAIN CONTACTOR RELAY inside of the Combined Device. This
will happen ONLY IF CERTAIN CONDITIONS ARE MET. Here is where things
get tricky.
Going back the Stabilizing Transformer for a minute, (just to complete
the mental image) main output voltage of the generator goes through the
primary winding of the Stabilization Transformer as I have already
mentioned. This is just a few turns of wire, and offers VERY little
resistance. Part of the secondary windings of this stabilization
transformer system has outputs going to the voltage regulator and the
over voltage box. The Voltage Regulator (official name "R-27") has
outputs that feed back to control the generator excitation field, but it
also has another output that goes over to the over voltage box. As I
mentioned in the test procedure mentioned above, If the voltage from the
generator is normal, the over voltage box feeds this same voltage (28
volts) back to pin B on the Combined Device. Once again please note: It
looks like a capital "B" to Americans, that is the SHAPE of the
marking, but it is actually the Russian letter "V".
This input voltage to pin B (V in Russian) turns on internal relay
TKE-210B INSIDE of the Combined Unit. In other words, when you put 28
volts to the connection marked "B" (Russian letter "V") and a ground on
the connection marked "-" (for minus), this internal relay will close
and it will ENABLE the rest of the Combined Device. What does it mean
to "Enable" the rest of the device? Let's stop here and talk about what
this "Combined Device" actually does.
It's main purpose is to either connect, or disconnect generator power to
the aircraft DC bus. Simple as that. In order to accomplish this, it
has a very large relay called the Main Contactor. The Combined Device
has two very large terminals on it. You can't miss them when you look
at the thing. The one on the right lower corner comes from the
Generator. The one on the left middle goes to the Aircraft Main DC bus.
When the Main Contactor closes it connects these two terminals.
The Main Contactor Relay is controlled by another relay referred to as
the "Polarity Relay". The Polarity Relays job is to close only when the
Generator Voltage is above that of the Aircraft Main Bus DC Battery
Voltage, and when current is flowing from the generator to the battery
and not the reverse. So it can be said that the Polarity Relay will
open and thus OPEN the Main Contactor Relay if there is reverse current
to the generator, or the generator voltage is too low.;
The Polarity Relay is controlled by yet ANOTHER TWO relays. One of
these relays is normally closed (TKE210B) and the other is normally open
(TKE1R2D). The normally open relay is closed by providing voltage to
terminal "B" ("V" in Russian) and by connecting a ground to the terminal
marked with the "-" (negative) marking. When this relay closed, it
completes a circuit path that starts at the generator input, goes
through it's own contacts, then through the normally closed contacts of
the OTHER relay (TKE210B) through the Polarity Relay coil itself and
then eventually to the LARGE terminal going to the Aircraft MAINS.
Rob Kent offers this description of the Polarity Relay and how it in
turn controls the Main Contactor Relay and thus power applied from the
generator to the aircraft DC bus:
1 - the Polarised Relay (II) is of a differential design, comprising
two windings (a) & (b) wound on the same core.
(a) a shunt winding that is voltage (polarised) operated - used to
monitor the generator voltage & close its contacts when this is 0.2-1V
greater than the battery ... in turn energising the Contactor (III) that
connects the generator to the power bus
(b) a series winding that is (polarised) current operated - used to
monitor the current flowing in/out of the generator circuit relative to
the battery ... when a reverse current of 10-25 amps flows (ie the
battery is taking the load) the relay contacts open ... in turn
releasing the Contactor (III) that disconnects the generator from the
power bus
So essentially the generator is voltage controlled to bring it online &
(negative) current controlled to take it offline ... hence the differing
engine / generator speeds related to these operations ... c.38% online &
c.34% offline. End Quote.
Apparently there is more than one version of this relay, because the one
in my Combined Device appeared to be different and met this description:
A LATCHING relay with one coil only. This coil and the relay are built
so that if you flow current in one direction it latches the relay in one
position, and if you reverse the polarity you simply reverse the
magnetic field and latch it in the opposite direction. Think of the
internal design to be like a See-Saw ... I.E., a Lever Arm with a
fulcrum in the middle. The coil winding SURROUNDS the lever arm at the
fulcrum and has metal tabs to direct the magnetic field to two main
points. If you energize the coil with PLUS voltage on one side, the
magnetic field will pull the lever arm down to the left. If you reverse
the voltage polarity, then the lever arm will pull down to the right.
Once the lever arm is in EITHER position, when you remove voltage to it,
it stays where it was last left. That is what makes it a LATCHING
relay. I could find no series winding per se, which does not necessarily
mean it is not there, just that I could not find it. The relay core in
my unit had only two wires coming out of it.
According to written explanations, when you turn on the Aircraft Master,
Battery Voltage is fed to the MAIN BUS and as such it also is fed right
down to the large OUTPUT terminal of the Combined Unit. At this point,
the OUTPUT of the Combined Unit is connected only to on side of the
Polarity Relay coil because the MAIN CONTACTOR RELAY is still OPEN.
Let's assume that our battery voltage is normal. As such, there is about
24 volts on the Combined Units OUTPUT terminal post coming from the
battery with the Aircraft Master switch turned on.
Now let's start the engine. The generator starts to spin. Everything
works properly and as your engine speed comes up, so does generator
voltage. This voltage is now fed to the Combined Unit's INPUT power
terminal. Assuming 28 volts is fed to terminal "B" ("V" in Russian)
thus ENABLING the Combined Unit by turning on normally open relay
TKE1R2D, you will end up with battery voltage on one side of the
Polarization Relay Coil and Generator Voltage on the OTHER side of the
Polarization Relay Coil. Once there is a difference in voltage between
battery voltage and generator voltage of about 2 volts or so, and the
generator voltage is HIGHER than the battery voltage, the Polarization
Relay will CLOSE and will then in turn close the MAIN POWER CONTACTOR.
Again according to the written explanations offered, if battery voltage
is ZERO, the Polarization Relay will close at no more than 20 volts DC.
Once the MAIN POWER CONTACTOR is closed, not only will generator power
now be connected to the aircraft main DC bus itself, but also 28 volts
will be fed out terminal "C" which will then in turn close yet another
relay (external to the Combined Device) and turn OFF the Generator Light
in the cockpit.
Of note is the fact that there is yet ANOTHER relay coil in the Combined
Device that we have not really talked about yet. It is the one with
normally closed contacts, called the TKE210B. If the other relay that
has normally OPEN contacts, could be called the ENABLING relay, this one
could be referred to as the DISABLING relay. If a ground is placed on
the terminal that looks in English as the number "6", then the coil of
this relay will energize and OPEN the electrical path to the
Polarization Relay. Of course this will then cause the Polarization
Relay to open which will then in turn cause the Main Contactor to open,
and thus the generator will be immediately disconnected from the
Aircraft Main DC Bus. When the Combined Device is working normally, and
the Main Contactor is CLOSED, there will be 28 VDC on the terminal that
looks like "6".
Operationally testing a system like this can be difficult at best. I
tried a method that worked for me, but is offered with a Caveat Emptor
warning... buyer beware, your mileage may vary and if you smoke you
whole aircrafts electrical system, DO NOT blame me.
I disconnected all three leads from the generator. I used a small 10
watt 28 VDC light bulb connected to the field winding wire to ground. I
took the main generator PLUS and MINUS wires off of the generator and
hooked them to a 28 volt variable DC power supply of about 20 amps
capacity. At this point, there are NO wires still connected to the
generator. The Field Winding wire can either float or have a SMALL 28
volt DC light bulb hooked from it to ground. Small being less than 20
watts.
You can now bring up voltage with the variable supply and check for
voltages at proper locations without having to run the M-14 engine
itself. Initially set the variable supply to about 20 volts. Look for
this 20 volts from the variable power supply at Combined Device Input
terminal. (Right side bottom.. the BIG one). Turn on the Aircraft
Master and look for BATTERY voltage on the OUTPUT terminal (left side
middle of the Combined Device...the OTHER big one) Look for 20 volts on
terminal "B" (Russian Letter "V") and NO GROUND on the terminal that
looks like the number "6". Increase voltage on the variable supply to
28.0 volts. As you come up on the voltage, the MAIN CONTACTOR should
close with a loud WHACK. If not, you have problems with the Combined
Device.
Remove the Combined Device and bench check it. Here is how you go about
doing that.
Some of the internal relays can be checked simply by listening to them
click. This does not check the relay CONTACTS themselves, but hey, that
comes later. Using a 28 volt source, either battery or variable supply,
connect negative to the (-) terminal on the Combined Device. Connect 28
volts to terminal B (Russian letter "V"). You should hear a relay
click. Disconnect the voltage from B. Now connect 28 volts to terminal
A..(It looks sort of like an A anyway) It is on the right side above
the large INPUT terminal. You should hear a LOUD relay closing, this is
the main contactor. Remove power from "A". Reapply power to "B"...
again you hear a relay click. Leaving power applied to B, now hook a
grounded wire to pin 6. This will close ANOTHER relay and you should be
able to hear it click. You have now checked every relay coil in the
Combined Device, other than the Polarization Relay, and the internal
relay contacts themselves.
Find a 24 volt battery, or hook two 12 volt batteries in series. Hook
the negative lead of the battery to the negative side of your variable
power supply. Also connect a wire from this to the MINUS (-) terminal
on the Combined Device. All negatives (grounds/earths) are now common
to each other. Hook the plus lead of the battery to the OUTPUT side of
the Combined Device (Big terminal left side middle).
Variable power supply is now OFF.
Apply a wire from the 28 volt variable supply output (plus voltage) to
the MAIN INPUT terminal (bottom right side). Also connect a jumper from
this terminal to terminal "B". Put some voltmeters here and there to
monitor whatever you feel like, but most certainly variable power supply
output voltage. Increase the variable power supply output. When it
reaches about 2 volts or so MORE than the battery voltage, the MAIN
CONTACTOR will close, and you will now have connected your variable
power supply to your test batteries.... and remember, when you do this,
you have just created a battery charger, and the variable power supply
will now try to start charging the batteries! If your variable power
supply is too small, as soon as it starts to try and charge the
batteries through the now closed MAIN CONTACTOR RELAY, the variable
power supply voltage will DROP. This will trigger the Polarization
Relay to OPEN, then causing the MAIN CONTACTOR to open as well, and
battery charging will cease... at which point the variable power supply
will jump back up in voltage, the polarization relay will close again
and the whole cycle will repeat. This event happens very fast and will
make a lot of noise. So... warning... use a variable power supply that
can handle more than a few amps without voltage drop for this test. A
regulated supply that is variable as well would be ideal.
Ok, so what if the MAIN CONTACTOR does NOT energize when you increase
the voltage? More than likely, you have problems with the Polarization
Relay, or high resistance on one of the internal relay contacts. It's
time to take this thing apart!
Notice that there are four screws that hold the top cover on. Can't see
them can you? That's because they have been covered up with some kind
of weird yellow sealant material. Also notice that there is a section
of the top cover that sticks up like a little oblong tower with two
screws holding a cover down. Rather, two yellow holes filled with goo,
that COVER the screws that hold this small cap down. If you dig out the
goo and remove these two screws, you will have access to the MAIN
CONTACTOR contacts themselves. You do not need to remove this cover
unless you suspect there is a problem with the MAIN CONTACTOR.
Now dig out the yellow glue/goo/whatever out of the four holes that go
around the EDGE of the top cover. Do not dig out any of this stuff that
is in the middle section, just the four screws around the edge.
Eventually you will get to the screws themselves (straight slot) and you
will be able to turn them out without too much problem.
Once you get these four screws out, the whole section comes apart
easily. Take some compressed air and blow out all the black dust that is
around the open framed Polarization Relay. Otherwise you will get it
all over your hands, and everything else in the area.
You will now see the two small relays in black cases (TKE1R2D &
TKE210B). You will see them marked with an A & B symbol. These
connections hook to the relay coil. You will also see a 1 and a 2 on
one relay and a 1, 2 and 3 on the other relay. These are the relay
contacts. Hook an ohm meter to the first one that has just the 1 & 2 on
it. You should have very low ohm readings. Now, with that meter
connected, tap on the relay with a small tool. WATCH YOUR OHM METER
WHILE YOU ARE DOING THIS. If the contacts are bad, the ohm meter
readings will jump all over the place and settle on totally different
values each time you whack the relay. Realize we are talking about a
hard tap here, and not a full swing with a hammer.
Now go to the other relay. Energize it by applying power to terminal
English "B" (Russian V) and a ground on the "-" terminal. Measure the
resistance between 1 and 3. It should be low, a few ohms or LESS.
Again tap on it firmly. See if the resistance is stable or moves around
quite a bit.
Check the Main Contactor relay by applying power to Terminal "A" and "-"
and check the resistance between the generator input terminal and the
output terminal to the aircraft.
Last of all, check the Polarization relay. Assuming all the other
relays checked good on their contacts and operation, connect an
alligator clip to terminal 1 of the relay that just has terminal 1 & 2
on it. NOT the one that has 1,2 and 3 on it. You can be sure you are
on the right terminal if you see that the wire hooked to it is covered
by a clear plastic sleeve. Hook your other power supply lead to the
terminal that looks like a "6". Using your variable supply, slowly
increase voltage from zero volts. Apply no more than 2 volts DC. Using
your hand gently try to move the lever arm of the Polarization relay in
the opposite direction that it presently is in. You should feel
opposition to your force. Do not JAM DOWN on this lever arm with force.
GENTLE pressure is all you need. In fact if you want, you can skip this
step. Reverse the polarity of the power supply leads. Again, slowly
increase voltage. No more than 2 volts. You should see the lever arm
change position. Sounds hard. It's not. It's easy once you see it.
My Combination Device failed due to high resistance on internal relay
contacts TKE-210B. I plan on replacing this internal relay with a
standard 28 volt military type relay with a metal case. This will fix
the device.
The Combined Device is a rather rare animal and sooner or later is going
to give us all a certain amount of grief. Without a doubt, I suspect if
we continue to fly these aircraft we are going to have to get more of
these devices at a reasonable cost, build our own, FIX our own, or
convert the whole aircraft power generation system over to American
made. The latter is probably the best idea over the long run.
So there you have it. The methods for testing this system are my own
and not adopted from any other manual or article. Use them at your own
risk. Feel free to copy and distribute this article as you see fit, but
I would sincerely appreciate it if you left my name on it as the author.
Addendum:
Every Russian aircraft owner should take a careful look at the Carbon
Pile Voltage Regulator R-27. Vladimir Yastremski warned me about this
device, and his warning was dead on accurate. This device is mounted on
a very very loose shock mount and rocks and rolls all over the place in
flight. It has wires that screw onto terminals and as the thing moves,
it can cause a short circuit to certain terminals. Sure enough, on my
YAK-50, one of the terminals was blackened by a short circuit. As I
moved the whole thing around, I could see how it caused the short.
Second, look at all the wiring that goes anywhere near bulkheads and/or
"bulb angle". It is common to see chaffing here, and sure enough... I
had another wire burnt almost in two by short circuits in THIS area.
So, bottom line, 50 owners... save yourself a lot of grief and get you
head up into that nose equipment compartment and inspect all wiring
CAREFULLY!!!
Best of Luck to all who decide to fix problems with this system on their
own... it's not easy, but this article should help you get started at
least.
Mark Bitterlich
| | - The Matronics Yak-List Email Forum - | | | Use the List Feature Navigator to browse the many List utilities available such as the Email Subscriptions page, Archive Search & Download, 7-Day Browse, Chat, FAQ, Photoshare, and much more:
http://www.matronics.com/Navigator?Yak-List |
|
| Description: |
|
| Filesize: |
357.74 KB |
| Viewed: |
225 Time(s) |

|
|
|